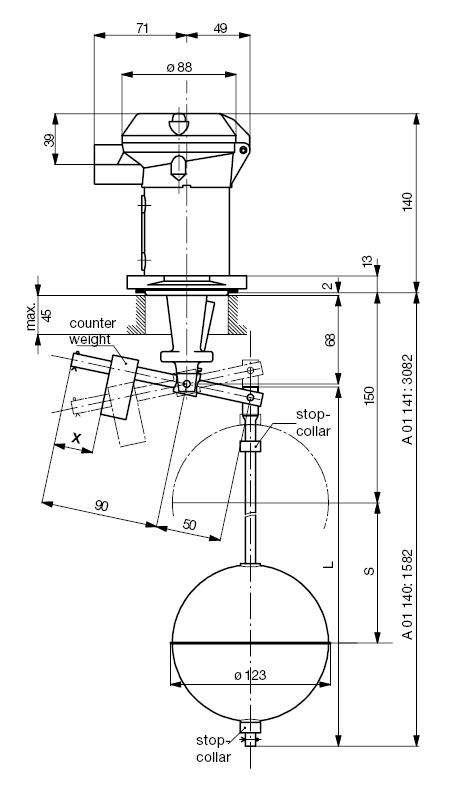
L'interrupteur à flotteur TriMod BESTA est idéal pour les applications d'alarme de niveau haut et bas, y compris le contrôle de la cale et des pompes. L'instrument se compose de trois modules : le commutateur, la bride et le flotteur. Sa construction robuste lui permet de s'adapter à une large gamme de liquides dans les applications marines et industrielles. Le module interrupteur comporte un micro-interrupteur et est logé dans un boîtier en aluminium moulé sous pression résistant à l'eau de mer (IP65). Le module à bride est en acier inoxydable. Il mesure 92 x 92 mm et peut recevoir quatre boulons M12 sur un diamètre de 92 mm. Les modules du radeau sont déterminés en fonction de leur fonction. En cas de conditions de montage difficiles, le détecteur de niveau peut être équipé de rallonges de tige (G1, G2 ou G3) adaptées aux besoins individuels. La façon la plus simple de monter un détecteur de niveau TriMod BESTA est d'utiliser la bride de raccordement disponible en acier au carbone ou en acier inoxydable. Des actionneurs de test sont également disponibles pour permettre des tests manuels périodiques.
Détecteur de niveau à flotteur monté sur bride TriMod BESTA | A01041
- Alarmes de niveau haut et bas
- Contrôle de la pompe
- Construction robuste
- Détection de niveau pour une large gamme de liquides
- Convient aux applications marines et industrielles
- Approuvé par toutes les associations maritimes















