- Thermocouple type "K" (Cr-Al) selon EN 60584-1 (ITS 90)
- Plage de mesure [°C] : jusqu'à +1100
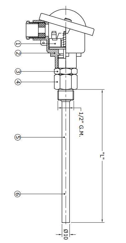
- capteur : 2 fils
- Longueur du capteur : 65, 110, 150 ou 200 mm,
autres longueurs sur demande - Pour les températures supérieures à 350 °C, nous recommandons un
extension à utiliser de 50 ou 100 mm - Matériau du tube d'immersion : 1.4435/316L
- Filetage : G1/2″ BSP
- Boîtier : Alu époxy IP65
- Tube plongeur en acier inoxydable
- Application : contrôle de la température des gaz d'échappement, conduits de fumée
Vue d'ensemble Thermocouples Termotech







